|
|
This chapter focuses on the configuration of Cisco's "one-step method" protocol translation facility. In addition, it provides configuration examples for typical protocol translation environments. The following information is provided:
Cisco's protocol translation (also called application gateway) function translates virtual terminal protocols to allow devices running dissimilar protocols to communicate. Cisco protocol translation software supports Telnet (TCP), LAT, and X.25. One-step protocol translation software performs bi-directional translation between any of the following protocol pairs:
The translation of virtual terminal protocols allows connectivity to devices running different protocol stacks. This option does not perform translation between other protocol services such as file transfer protocols.
Protocol translation has previously been available with the CPT product. The CPT is a stand alone unit that supports up to 100 concurrent translation sessions. Protocol translation is now also offered as a software option for the IGS multiprotocol router/bridge. This software option allows concurrent routing, bridging, and protocol translation in a single unit.
When concurrently performing protocol translation with either routing or bridging, the IGS supports up to 32 transparent translation sessions. If routing and bridging are not configured, the IGS supports up to 100 transparent translation sessions. This allows the IGS to match the current CPT product's functionality. If the IGS is not configured for "one-step" protocol translation using the translate command, it can still handle up to 100 virtual terminal sessions using the "two-step" method. Refer to "Using the Protocol Translator" early in this manual for more information concerning one-step and two-step protocol translation procedures. If you use the IGS for routing or bridging and then decide to use the full 100 translation sessions, you must explicitly turn routing or bridging off and reboot the system to see the additional lines. With routing and bridging disabled, the IGS by default uses the proxy Address Resolution Protocol (ARP) to find the router. You can also configure a default router or use the Gateway Discovery Protocol.
The ability to make single-step user connections to resources through Cisco protocol translators is made possible by the translate global subcommand. This section defines the translate command specifications and provides some notes regarding use of protocol-specific incoming and outgoing addressing options. A lengthy example of configuration file translation specifications is provided at the end of this section.
The translate command causes incoming LAT, TCP, or X.25 requests for connections to a specified destination address/host name to result in the automatic conversion to the specified outgoing connection type. Subsequently, the transmission of a connection request to the address specified in the translate command is executed.
The translate subcommand has the following general format:
translate inaddress [inoptions] outaddress [outoptions][globaloptions]The translate subcommand causes incoming connections to the specified input protocol and address to result in the automatic formation of an outgoing connection to the specified protocol and address. Options inaddress and outaddress have the following format:
tcp ipaddressYou must specify a protocol name (tcp, lat, or x25).
The following brief descriptions summarize the differences between these arguments and their respective options.
The inaddress/outaddress argument ipaddress is either the standard form (0.0.0.0 to 255.255.255.255) or the name of an ip host that can be resolved via Domain Name Service, IEN116 name service, or by explicit specification in an ip host command.
The options for the tcp argument include:
port nnnThe port option is used for outgoing TCP connections, or for matching only this port on incoming connections. The default port is port 23 (Telnet). For incoming connections, port 0 will match any port.
The binary option is for negotiating Telnet binary mode on the Telnet connection. This was the default in previous versions of the protocol translator software, and is set automatically if you enter an old format translate subcommand.
The argument servicename is a alphanumeric string that identifies a LAT service. The application of "servicename" may differ somewhat depending on whether it is being used on the input portion (inaddress) or the destination (outaddress) portion of the translate command. When used on the inaddress portion of a translate command the servicename is essentially the name of the service that users specify when trying to make a translated connection. This name can, but does not need to, match the name of final destination resource. This can be useful when making remote translated connections.
The options for the outgoing lat argument include:
node nodenameUsing the node keyword followed by a LAT node name causes a connection to be made to a specified node which offers a service. By default, the connection is made to the highest-rated node which offered the service.
The keyword port specifies a destination LAT port name in the format of the remote system. This parameter is usually ignored in most timesharing systems, but is used by terminal servers which offer reverse-LAT services.
The node and port options can be combined.
The x25 inaddress/outaddress argument X.121 address can be up to 14 decimal numbers in length. It must conform to specifications provided in the CCITT 1984 Red Book. This number generally consists of a portion that is administered by the PDN and a portion that is locally assignable. You must be sure that the numbers that you assign are in agreement with addresses assigned to you by the X.25 service provider.
The X.121 addresses used in the translate command will generally be "sub-addresses" of the X.121 address of the X.25 network interface. Typically, the interface address will be a 12 digit number. Any additional digits are interpreted as a "sub-address." The PDN still routes these calls to the interface, and the protocol translator itself is responsible for dealing with the extra digits in an appropriate way.
The options for the x25 argument include:
cud call-user-dataThe option cud call-user-data sends the specified call-user-data text as part of the call user data (CUD) in an outgoing call request (after the protocol identification bytes).
The option profile name causes the X.3 PAD parameters to be set as defined in the profile created by the x29 profile subcommand, as defined in the "Configuring X.25 and X.3" chapter.
The option reverse provides reverse charging for X.25 on a per-call rather than a per-interface basis.
Global options for the translate subcommand are as follows:
access-class nnnThe access-class nnn keyword allows the translate subcommand to be used by source hosts that match the access list parameters. This is currently supported only for incoming TCP and X.25 connections. Here, the argument nnn is the number previously assigned to an access list (nnn is an integer).
The local keyword allows protocol negotiations (such as ECHO and linemode) to not be translated.
The login keyword requires that the user log in before the outgoing connection is made. This type of login is specified on the VTY's using the login command.
The quiet keyword suppresses printing of user-information messages.
The max-users keyword limits the number of simultaneous users of the translation to nnn (nnn is an integer).
The following is an example of the translate command format:
translate tcp 132.100.2.34 port 25 stream x25 31370012561 cud mail reverse access-class 22
The following examples show configuration files taken from operating installations. You may use them to help you understand how to configure your application.
The first example sets up incoming Telnet sessions to a public access catalog running on a UNIX host. The host is configured for 32 virtual circuits:
! The following commands set up the network services: no service config ! disables TFTP autoloading of configuration files service domain ! enables Domain Name System-based host-name-to-address translation service pad ! enables incoming PAD connections ! ! The following commands configure the interfaces: interface ethernet 0 ! establishes the Ethernet interface ip address 92.45.81.5 255.255.255.0 ! specifies the interface address and subnet mask ip broadcast-address 92.45.81.255 ! specifies the Internet address to use for broadcasts ! interface serial 0 ! establishes the X.25 interface no ip address ! disables IP processing on this interface encapsulation x25 ! specifies X.25 DTE encapsulation x25 address 100 ! specifies the X.25 address ! ! The following commands specify X.25 Level 2 and 3 parameters: x25 htc 28 x25 hoc 28 x25 hic 28 ! name-server 92.45.81.2 ! specifies the server address for name and address resolution domain-name Cisco.com ! defines the default domain name ! default-gateway 92.45.81.4 ! sets the gateway address hostname cpt1 ! specifies"cpt1" as the name for prompts (example: cpt1>) ! ! The following commands establish addresses that form automatic ! PAD/Telnet connections. The "local" keyword provides for ! local PAD parameter change requests. translate 92.45.81.128 10100 local translate 92.45.81.129 10100 translate 92.45.81.254 10167 local ! ! These commands begin configuration requests for the console ! line (line 0): line console 0 ! establishes console line password secret ! sets password for the console line line vty 0 100 ! establishes virtual terminal lines login password alsoSecret ! establishes a password for the virtual terminal lines exec-timeout 2 ! sets the user input interval to 2 minutes session-timeout 5 ! sets the session interval to 5 minutes dispatch-character 10 ! defines ^-J as the character that transmits a packet telnet transparent ! causes the protocol translator to send a RETURN/NUL ! instead of RETURN/LINE FEED ! end
The following configuration example sets up incoming X.25 network service:
no service config ! disables TFTP autoloading of configuration files no service domain ! disables Domain Name System-based host-name-to-address translation ! ! These commands set up the Ethernet interface: interface Ethernet 0 address 182.32.159.50 255.255.255.0 ! ! These commands set up the X.25 interface: interface Serial 0 no ip address encapsulation x25 x25 address 2 x25 hic 73 x25 htc 73 x25 hoc 73 ! ! This command establishes the addresses that form automatic ! PAD/Telnet connections. translate 182.32.159.51 201 ! name-server 255.255.255.255 ! specifies the server address for name and address resolution ip alias 182.32.159.55 6101 ! assigns 182.32.159.55 to the service provided on TCP port 6101 end
Use the EXEC show translate command described in this section to obtain displays of translation activity.
The command show translate is used to show information about any protocol translation information configured using the translate configuration command. The command syntax is:
show translateThe format for the output of the command is:
Translate From: X25 3137005406515 access-class 5 To: TCP 199.31.7.17 Port 23 0/10 users active, 5 peak, 20 total, 1 failures
The first line contains the source protocol for the translation, and the second line contains the destination protocol and global options, all as specified in the original translate configuration command.
The last line in the display describes usage statistics for that particular translation. The first number 0 is the number of currently active users acting through the translate command. Following the slash, 10 is the max-users global parameter from the configuration (0 if no maximum was specified). The peak number 5 is the largest number of users concurrently using this translation. The total 20 is the total number of connections through this translation, and failures 1 is the number of attempted translations that failed for any reason (destination host not responding, access failure, login failure, resource exhaustion, and so on.)
More sample outputs:
Translate From: LAT LUCY
To: TCP 132.100.2.113 Port 23
1/0 users active, 1 peak, 1 total, 0 failures
Translate From: X25 3137005406515 access-class 5
To: TCP 199.31.7.17 Port 23
0/0 users active, 0 peak, 0 total, 0 failures
Translate From: LAT MATHOML
To: TCP 199.31.7.17 Port 23
2/0 users active, 2 peak, 3 total, 0 failures
Translate From: TCP 132.100.1.25 Port 23
To: X25 31370 Profile echo
0/0 users active, 0 peak, 0 total, 0 failures
There is one privileged debugging command for translation: debug translate. It is described in this section and is used to troubleshoot translation activity. Generally, you enter this commands during troubleshooting sessions with Cisco Customer Engineers.
For each debug command, there is a corresponding undebug command that turns the display off.
debug translate
The debug translate command shows the startups of each type of protocol translation, and indicates failures of the translate command.
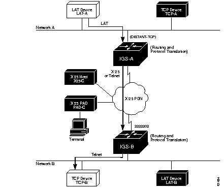
The remainder of this chapter is devoted to illustrating protocol translation examples. Most of these application examples are defined within the context of the network illustrated in Figure 1-1. The application environment described here focuses on IGS implementations; however, in applications solely featuring protocol translation, a CPT can be used as well.

The following example listings provide the basic global configuration subcommands and interface configuration subcommands to setup IGS-A (connected to Network A) and IGS-B (connected to Network B) illustrated in Figure 1-1. Refer to the IP and X.25 chapters under Transmission Protocols in this manual for more information concerning configuration details for these protocols.
!*******IGS ROUTER A - GENERAL CONFIGURATION******** ! Interface ethernet 0 ip address 1.0.0.2 255.255.0.0 ! ! enable LAT on interface lat enabled ! interface serial 0 encapsulation X.25 x25 address 11111 ! The following parameters may depend on your network x25 facility packetsize 512 512 x25 facility windowsize 7 7 ! ! IP address and MAP command needed only if routing IP ip address 3.0.0.1 255.255.0.0 x25 map ip 3.0.0.2 22222 broadcast ! ! Set up IP routing router igrp 100 network 1.0.0.0 network 3.0.0.0 ! ! Advertise as available for connections via LAT ! Use this name (IGS-A) if connecting via 2-step method ! (for connecting directly to a specific Protocol Translator) lat service IGS-A enable ! ! Set up some IP host names/addresses ip host IGS-A 1.0.0.2 3.0.0.1 ip host TCP-A 1.0.0.1 ip host TCP-B 2.0.0.1 ip host IGS-B 3.0.0.2 2.0.0.2
The partial configuration example provided above for IGS-A outlines baseline configuration for the unit's Ethernet and serial interfaces. It configures support for IP, LAT, and X.25. For more information concerning these global configuration commands and interface configuration subcommands, refer to the chapter "Configuring the System." The emphasis in this chapter is on using the translate command variations with this basic configuration (and the one provided for IGS-B) as the framework or context for discussing protocol translation options. Refer to the Cisco Router Products Configuration and Reference publication for information about router functions included in this example.
!*******IGS ROUTER B - GENERAL CONFIGURATION******** ! Interface ethernet 0 ip address 2.0.0.2 255.255.0.0 ! ! enable LAT on interface lat enabled ! interface serial 0 encapsulation X.25 x25 address 22222 ! The following parameters may depend on your network x25 facility packetsize 512 512 x25 facility windowsize 7 7 ! ! IP address and MAP command needed only if routing IP ip address 3.0.0.2 255.255.0.0 x25 map ip 1.0.0.2 11111 broadcast ! ! Set up IP routing router igrp 100 network 2.0.0.0 network 3.0.0.0 ! ! advertise as available for connections via LAT ! Use this name (IGS-B) if connecting via 2-step method ! (for connecting directly to a specific Protocol Translator) lat service IGS-B enable ! ! Set up some IP host names/addresses ip host IGS-A 3.0.0.1 1.0.0.2 ip host TCP-A 1.0.0.1 ip host TCP-B 2.0.0.1 ip host IGS-B 2.0.0.2 3.0.0.2
As with the IGS-A, the partial configuration provided for IGS-B outlines baseline configuration for the unit's Ethernet and serial interfaces. IGS-B is configured to support IP, LAT, and X.25. For more information concerning these global configuration commands and interface configuration subcommands, refer to the chapters "Configuring the System" and "Transmission Protocols." Again, the emphasis in this chapter will be on using translate command variations with this basic configuration as the framework or context for discussing protocol translation options.
The example configuration segments that follow are partial and representative in nature. They would be part of the complete configuration file for an individual protocol translator/router.
The IGS can translate between LAT and TCP (Telnet) traffic to allow communication among resources in these protocol environments. In Figure 1-2, the LAT device on Network A (LAT-A) is shown connecting to a TCP device (TCP-A).

The following example configuration illustrates use of the translate global configuration subcommand to translate from LAT to TCP. It is applied to IGS-A.
! Translate LAT connections to TCP for connectivity to TCP-A translate lat TCP-A tcp TCP-A ! Optional additional commands lat service TCP-A ident Protocol Translation to TCP-A
In the last command above, the text string "Protocol Translation to TCP-A" is text that is used as an identification for the LAT service named TCP-A (sent to other servers on the local network).
The IGS protocol translation option allows LAT devices to communicate with X.25 hosts through an X.25 PDN. In the application illustrated in Figure 1-3, a LAT device (LAT-A) is talking to an X.25 host (X25-C) with its LAT traffic translated to X.25.

The following example configuration illustrates use of the translate global configuration subcommand to translate from LAT to X.25. It is applied to IGS-A. This configuration example includes an example of using reverse charging for connections. Setting the translate command to reverse charges causes the protocol translator to instruct the PDN to charge the destination for the connection. It is essentially a collect call. This reversal of charges must be pre-arranged with the PDN and destination location (on an administrative basis), or the call will not be accepted.
! Translate LAT to X.25 host, with reverse charging translate lat X25-C x25 33333 reverse ! ! Specify optional X.25 hostname x25 host X25-C 33333
In addition to allowing LAT devices to communicate with X.25 hosts as illustrated in Figure 1-3, IGS protocol translation allows terminals connected to X.25 PADs to communicate with LAT devices on a remote LAN (Figure 1-4). X.25 PAD terminals make a call using an X.121 address which is translated to a LAT address. To the PAD terminal user, the connection appear to be a direct connection to a host on the X.25 PDN. The IGS also supports X.29 access lists, which allow you to restrict LAN resources (LAT or TCP) available to the PAD user.

The following example configuration illustrates use of the translate global configuration subcommand to translate from an X.25 PAD to a LAT-device on a Network A. It is applied to IGS-A. The configuration example includes an access list that limits remote LAT-access through IGS-A to connections from PAD-C.
! Define X25 access list to only allow pad-c x25 access-list 1 permit ^44444 x25 access-list 1 deny .* ! ! Set up translation translate x25 1111101 lat LAT-A access-class 1
The preceding configuration example typifies the use of access lists in Cisco internetworking systems. The first two lines define the scope of "access-list 1". The first line specifies that access-list 1 will permit all calls from X.121 address 44444. The caret symbol (^) specifies that the leading 4 is the beginning of the address number. Refer to the "Pattern Matching" appendix for details concerning the use of special characters in defining X.121 addresses. The second line of the definition explicitly denies calls from any other number.
This access list is then applied to all incoming traffic on the serial port for IGS-A (X.121 address 1111101) with the third configuration line in the example. However, it applies only to the translate command at the end of the example above. This translate command specifies that incoming X.25 packets on the serial line (with address 1111101) is translated to LAT and sent to LAT-A if it passes access-list 1 restrictions.
If multiple X.25 translate commands are defined, each must include unique X.121 address. It is also important that the CCITT protocol used in transferring packets match among X.121 addresses. This is specified in the protocol identification field of call-user data. This field specifies whether a packet is routed, translated, or handled as a virtual terminal connection.
Making a translated connection from an X.25 PAD to a TCP device (Figure 1-5) is analogous to the preceding X.25 PAD to LAT example. Instead of translating to LAT, the IGS-A configuration includes a statement to translate to Telnet (called TCP in the configuration syntax of Cisco protocol translation software). Note that a protocol translator can include statements supporting both translations (X.25 PAD to LAT and X.25 PAD to TCP). Different users on the same PAD can talk to X.25, LAT, or TCP devices.

The following example configuration illustrates use of the translate global configuration subcommand to translate from an X.25 PAD to a TCP-device on a Network A. It is applied to IGS-A.
! Set up translation translate x25 1111102 tcp TCP-A
Protocol translators can be used to provide transparent connectivity between LAT devices on different networks via an X.25 PDN. Figure 1-6 illustrates this application. In this application, the LAT device on Network A (LAT-A) first makes a virtual connection to the IGS on Network A using the LAT protocol.
The IGS translates the LAT packets into X.25 packets and sends them through the X.25 network to the IGS connected to Network B. This IGS translates the X.25 packets back to LAT packets and establishes a virtual connection to the LAT device on Network B (LAT-B). These handoffs are essentially handled transparently when configured for a "one-step" translation as described in the "Using the Protocol Translator" chapter.

The following configuration example illustrates the use of the translate global configuration subcommand to translate from LAT to X.25 and from X.25 to back to LAT to allow connection service to a LAT-device on a Network B from a LAT device (LAT-A) on Network A. It includes configurations for both IGS-A and IGS-B.
! Translate LAT to X.25 translate lat DISTANT-LAT x25 2222201
! Translate X.25 to LAT translate x25 2222201 lat LAT-B
In the translate statement for IGS-A, DISTANT-LAT defines a LAT service name for IGS-A. When a connection to LAT-B is attempted by a user on device LAT-A, DISTANT-LAT is the target specified in a connection command.
In the translate configuration command for IGS-B, the LAT service on the target host (LAT-B) is LAT-B. IGS-B translates the incoming X.25 packets from 2222201 to LAT and transparently relays these packets to LAT-B.
An example connection request follows.
local>connect DISTANT-LAT
With the example configurations specified for IGS-A and IGS-B above, the user connection command connect DISTANT-LAT (or any similar connection command) results in a connection attempt from LAT-A on Network A to LAT-B on Network B.
A translation configuration intended to force IGS-B to send information back from LAT-B to LAT-A is symmetrical to the prior configuration. The following examples illustrate this corresponding configuration (not shown in Figure 1-6):
! Translate LAT to X.25 translate lat FAR-LAT x25 1111103
! Translate X.25 to LAT translate x25 1111103 lat LAT-A
Cisco protocol translators can be used to provide transparent connectivity between LAT and TCP devices on different networks via an X.25 PDN. In the application illustrated in Figure 1-7, the traffic from the LAT device on Network A is communicating with the TCP device on Network B. There are two ways to provide this connectivity.
The LAT traffic from Network A can be translated into either X.25 packets or Telnet packets to be sent out on the X.25 PDN. If the traffic is translated to Telnet by IGS-A, the packets are encapsulated within X.25 frames. In general, translating the traffic directly to X.25 is more efficient in this application since no encapsulation is necessary. X.25 packets have only five bytes of header information, while Telnet over X.25 includes 45 bytes of header information.
If the traffic is translated from LAT directly into X.25 frames by IGS-A, then IGS-B on Network B translates incoming packets intended for device TCP-B into Telnet. If IGS-A converts LAT to TCP (Telnet), then the Telnet traffic is being encapsulated in X.25 and sent on the X.25 network; the IGS on Network B strips off the encapsulation and routes the TCP packet. In this case, protocol translation is not needed on IGS-B.

The following configuration examples illustrate use of the translate global configuration subcommand to translate from LAT to X.25 (IGS-A) and from X.25 to Telnet (IGS-B) allowing connection service to a TCP-device on a Network B (TCP-B) from a LAT-device on Network A (LAT-A). Example configurations are for both IGS-A and IGS-B.
! Translate LAT to X.25 translate lat DISTANT-TCP x25 2222202
! Translate X.25 to TCP translate x25 2222202 tcp TCP-B
In the translate statement for IGS-A, DISTANT-TCP defines a LAT service name for IGS-A. When a connection to TCP-B is attempted by a user on device LAT-A, DISTANT-TCP is the target specified in a connection command.
In the translate configuration command for IGS-B, the Telnet service on the target host (TCP-B) is TCP-B. IGS-B translates the incoming X.25 packets from 2222202 to Telnet packets and transparently relays these packets to TCP-B.
An example connection request follows.
local>connect DISTANT-TCP
With the example configurations specified for IGS-A and IGS-B above, the user connection command connect DISTANT-TCP (or similar connection command) results in a connection attempt from LAT-A on Network A to TCP-B on Network B.
To transport LAT traffic over a Frame Relay or SMDS network, LAT must first be translated to TCP (Telnet). The TCP traffic is routed over the Frame Relay network and then retranslated back to LAT on the IGS on Network B. Refer to Figure 1-8 and the associated partial configuration example.

The following configuration example illustrates use of the translate global configuration subcommand to translate from LAT to LAT when the WAN uses Frame Relay or SMDS. Under this configuration, the IGS is routing encapsulated packets translated from LAT to TCP (Telnet) over the Frame Relay or SMDS network. Packets are then translated back to LAT on the other side of the Frame Relay or SMDS network. Example translation configurations for both IGS-A and IGS-B are included, but these examples do not include complete interface configuration specifics.
! Translate LAT to TCP/Telnet translate lat DISTANT-LAT tcp IGS-B
! Translate TCP to LAT translate tcp IGS-B lat LAT-B
The IGS with protocol translation can also be used to connect LAT devices over a Wide Area backbone that only allows routable protocols (Figure 1-9). This dilemma faces organizations with LAT networks that are either isolated or are on their own internetwork.
With the IGS, LAT traffic can be translated to TCP and then routed on the WAN as Telnet traffic. The LAT connections stay local between the LAT device and the IGS. Connections are thus not susceptible to delays on the WAN.
This reduces the amount of traffic on the WAN since only the data from specific LAT sessions is forwarded on the WAN rather than all the LAT protocol status information packets.

The following configuration example illustrates use of the translate configuration subcommand to translate from LAT to LAT when an IP WAN media is used. Under this configuration, the IGS is routing encapsulated packets translated from LAT to TCP (Telnet) over the WAN network. Packets are then translated back to LAT on the other side of the WAN network. Example translation configurations for both IGS-A and IGS-B are included, but these examples do not include specifics of configuration for routers in the WAN. The examples shown are essentially the same configurations for the protocol translation as with the preceding Frame Relay example.
! Translate LAT to TCP/Telnet translate lat DISTANT-LAT tcp IGS-B
! Translate TCP to LAT translate tcp IGS-B lat LAT-B
When an organization requires the translation of protocols among multiple remote sites over an X.25 network, with retranslation at a central site, an IGS may be required. The IGS in this configuration allows more than 32 concurrent translation sessions.
To support this application, an IGS is directly connected back-to-back (Figure 1-10) to another Cisco router (for example, AGS+, AGS, MGS, or CGS). This second Cisco router acts as an X.25 switch, by sending X.25 packets to the IGS while concurrently routing and bridging other protocols.
As the IGS is operating only as a protocol translator, it is capable of supporting 100 concurrent protocol translation sessions as opposed to the 32 that are supported when the IGS is routing, bridging, and protocol translating.

The following configuration example illustrates the configuration of IGS and AGS+ systems to support translating protocols over an X.25 network among multiple sites.
The "other" Cisco router is configured to act as an X.25 switch to send X.25 packets to the IGS while concurrently routing and bridging other protocols. This example also illustrates use of the translate global configuration subcommand to translate LAT, TCP, and X.25 over an X.25 WAN media. Under this configuration, IGS-A can translate LAT or TCP (Telnet) traffic into X.25 packets for transmission over an X.25 PDN network. Packets are then translated back to LAT or TCP on the other side of the WAN. Example configurations are included for both IGS-A and the Cisco router connected to the WAN at the central location; however, complete configurations details are not provided.
Interface ethernet 0 ip address 1.0.0.2 255.255.0.0 ! ! enable LAT on interface if concurrently routing (8.3 feature) lat enable ! interface serial 0 encapsulation X.25 ! note that this is subaddress 3 of 11111 x25 address 111113 ! The following parameters may depend on your network x25 facility packetsize 512 512 x25 facility windowsize 7 7 no ip address
! Interface to WAN interface serial 0 x25 address 11111 x25 route ^11113 int ser 1 ip address .... ! Interface to IGS int ser 1 x25 route .* interface ser 0 no ip address
no ip routing ! Note subaddress of subaddress 11111(3(3)) translate x25 1111133 tcp tcpdevice translate lat TCP-B x25 3333301 translate lat tcp-device tcp tcp-device ! etc...any translate commands needed by application
For sites needing a high amount of local TCP-to-LAT translation sessions, the IGS can be set up to only use an Ethernet port. This application allows 100 concurrent translation sessions. In the applications illustrated in Figure 1-11, any other Cisco router, including an IGS, can be used to interconnect network segments performing bridging and/or routing.

Interface ethernet 0 ip address 1.0.0.2 255.255.0.0 ! ! enable LAT on this interface lat enabled ! interface serial 0 shutdown no ip routing default-gateway 1.0.0.100 ! translate lat TCP-A tcp TCP-A translate lat TCP-B tcp TCP-B translate tcp LAT-A lat lat-z ! etc...translate commands as required
This section lists summarizes the global system configuration command translate:
translate inaddress [inoptions ]outaddress [outoptions ][globaloptions]
Causes incoming connections to the specified input protocol and address to result in the automatic formation of an outgoing connection to the specified protocol and address. Options inaddress and outaddress have the format:
tcp ipaddress
lat servicename
x25 X.121address
You must specify a service name (tcp, lat, or x25).
The translate command causes incoming LAT, TCP, or X.25 connection requests to specified destination address/host name to result in the automatic conversion to the specified outgoing connection type, and subsequently the transmission of a connection request to the address specified in the translate command.
The tcp inaddress/outaddress argument ipaddress is either the standard form (0.0.0.0 to 255.255.255.255) or the name an ip host that can be resolved either via Domain Name Service, IEN116 name service, or by explicit specification in an ip host command.
The options for the tcp argument include:
port nnnn
binary
The port option is used for outgoing TCP connections, or for matching only this port on incoming connections. The default port is port 23 (Telnet). For incoming connections, port 0 will match any port.
The binary option is for negotiating Telnet binary mode on the Telnet connection. This was the default in previous versions of the protocol translator software, and is set automatically if you enter an old format translate subcommand.
The options for the x25 argument include:
cud call-user-data
profile profile
reverse
The option cud call-user-data sends the specified call-user-data text as part of the call user data (CUD) in an outgoing call request (after the protocol identification bytes).
The option profile name causes the X.3 PAD parameters to be set as defined in the profile created by the x29 profile subcommand, as defined in the "Configuring X.25 and X.3" chapter.
The option reverse provides reverse charging for X.25 on a per-call rather than a per-interface basis.
The options for the outgoing lat argument include:
node nodename
port portname
Using the node keyword followed by a LAT node name causes a connection to be made to a specified node which offers a service. By default, the connection is made to the highest-rated node which offered the service.
port portname
The keyword port specifies a destination LAT port name in the format of the remote system. This parameter is usually ignored in most timesharing systems, but is used by terminal servers which offer reverse-LAT services.
The node and port options can be combined.
Global options for the translate subcommand are as follows:
access-class nnn
local
login
quiet
max-users nnn
The access-class em nnn keyword allows the translate subcommand to be used by source hosts that match the access list parameters. This is currently supported only for incoming TCP and X.25 connections.
The local keyword allows protocol negotiations (such as ECHO and linemode) to not be translated.
The login keyword requires that the user log in before the outgoing connection is made. This type of login is specified on the VTY's using the login command.
The quiet keyword suppresses printing of user-information messages.
The max-users keyword limits the number of simultaneous users of the translation to nnn (nnn is an integer).
|
|